都市快报讯 “虽然超出评估价很多,但还是捡漏了。”今天,阿里拍卖上“杭州萧山区宁围街道华奥时代奥城13幢3单元2601室及1009号地下停车位使用权”,完成了激烈拍卖。
最终,竞买号为S4441的买家,在与其余62位竞争对手的PK中胜出,以1175万元的价格将这套建筑面积为138.83平方米的房源以及一个车位,收入囊中。

法拍业内人士算了笔账,这样一套房子,在杭州的市场挂牌价加上车位以及双税,要1370万元左右。而该套标的物成交价1175万,因为是法拍房,所涉及的税费大部分还可以去法院办理退税,与二手市场购买相比,毛估估能省下200万元左右,买家也算捡漏成功了。
这套房子有多火?
40位竞买人排队候场
对于关注杭州法拍房的人们来说,好久都没看到如此“壮观”的争抢了。
还未开拍,已经有40位竞买人各自交了91万元保证金,排队进场。
455万元的起拍价,对比上万元的市场价,可谓是“低到尘埃”,让大家浮想联翩。
而法拍页面上写的“市场评估价”也让人有些迷惑,649万元,和真实的市场价相差甚远。在二手房交易平台上,时代奥城的类似房源挂牌价都在1250万元左右。
橙柿互动记者询问了多位杭州法拍界人士,以及多位拥有10年以上房产中介经历的经纪人,得知,此次评估报告的估价机构来自江苏,并非杭州本地,估价方式有一定差别。
“其实估价不准这种情况也不少见。不过,除了参考页面的市场评估价,竞买者们绝大多数都会自己提前做好市场调研,了解自己要拍的房子在近阶段的市场行情和真正价值。不会只看页面数据就做决定的。”一位拍卖辅助机构工作人员告诉我们。
开拍十分钟加价500多万
法拍场上演“百米飞人大战”
但对于这套时代奥城来说,40位竞买人即使摸清了市场行情,还是显得比较心急。

8月30日上午10时,当这套房源按下法拍“启动键”,陆续又加入了23位竞买人。
有意思的是,这场法拍似乎变成了一场“百米飞人大战”,总共63位蓄势待发的竞买人,展开了正面“火拼”,将起拍价455万的改善住宅,以“最快速度”拉升,直至超过1000万。
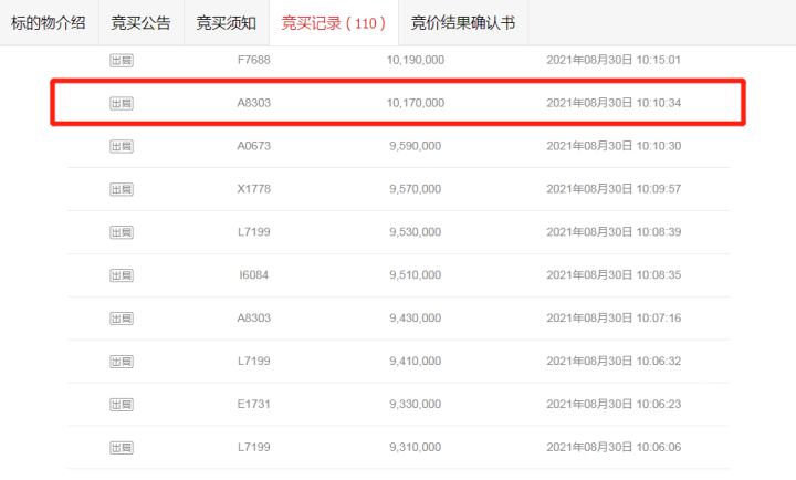
我们拉出竞买时间轴,发现在开拍10分钟的时候,买家们已经加价500多万,在10分34秒的时候,将拍卖价顶格在了1017万元上。
这波大浪淘汰了一部分竞买人,留下来的,开始沉住气,拉长战线,缓慢出价。
而就在今天上午,也就是原定24小时竞买周期进入冲刺阶段,第二波大浪又来了。竞买人又开始相互紧咬,直至延时19次,最终成交价定格在1175万,竞买出价达到110次。截至记者发稿前,围观人数近10万人次。
刷新今年杭州法拍房参与人数纪录
缘于钱江世纪城板块“青黄不接”
这套房源位于萧山区宁围街道华奥时代奥城13幢3单元2601室,房子位于小区高层段,视野、采光都很不错。从页面显示的现场图看,该房源室内为精装修,家中厨电、装修保养较好,无明显使用痕迹,甚至看不出入住过的痕迹。不过,房屋尚欠物业费、车位管理费在内总计14581.44元,该费用需由受买人支付。
超60人报名,相当于近几月杨柳郡、宜和园拍品的约6倍,刷新今年热门小区法拍房参与人数。
时代奥城法拍的超强流量,与钱江世纪城板块内优质供应见底有很大关系。
杭州8月5日房产新政后,刚结束的“红盘潮”中,杭州壹号院、亚运村三兄弟、观品、星翠澜庭等盘纷纷“清仓”,光是华润、绿城、万科三家的“出货量”就有约4400套,整个板块内优质新房库存量减少近5000套。
接下来,板块内暂时仅剩SKP、融信傲世纪两盘,面积还都以大户型为主,今后如果同一时段开盘,必定是一场激烈的角逐。想入住这一板块,有很多不确定性。
同样的,大致价位段的滨江西兴、长河,虽有滨康天曜城、保利天汇等盘,但可售新房库存总量不超3000套。
因此,一些看好钱江世纪城板块,或者入住意愿强烈的买家,就有可能会转换思路,关注这个区域的法拍房、二手房。
杭州本月成交82套法拍房
95.12%低于评估价
业内人士:现在是捡漏的好时机
“时代奥城这套房子,法院公示市场价在649万,但是市场挂牌价加车位差不多在1300万。虽然评估价严重偏低,但报名63人还是比较夸张的。在此之前,本年度最热门的一套杭州房产拍卖,报名了39人,2020年的最高纪录是42人。”从事法拍咨询服务多年的业内人士毛章丽说。
她认为,这个月杭州法拍住宅成交,受8月5日楼市新政影响还是比较大的。
“截至今天(8月31日),成交82套中有78套低于评估价,占比达到95.12%,上半年的捡漏数量占比基本在20%-79%,已经破了杭州法拍的历史捡漏记录。而且这95.12%中,成交在评估价8折左右的占多数。”
同时,流拍的数量也有所增加,本月目前为止已经流拍了25套,占上拍总数的23%。
“可以说,现在是法拍房捡漏非常好的机会。”毛章丽认为。